產品優勢-福氣組合式水泥預鑄屋官方網站∣組合屋推薦 鋼筋RC製造 台灣專利
分享此頁 分享到FB 分享到twitter 分享到LINE 分享到LINE

產品優勢 SERVICE

結構穩固又省時省工省錢的新型專利

建築的新時代即將來臨!福氣組合式水泥預鑄屋取得全台灣獨家的新型專利「組合式預鑄屋」,改善了以往組合屋施作時費工耗時、內部設備簡易、在拆除時容易損壞組件、無法重複利用的缺點,使用混凝土預鑄,更可達到堅固耐用、防潮隔熱的功效,避免了金屬生鏽保養的問題。政府認證、專業簽證、品質保證!

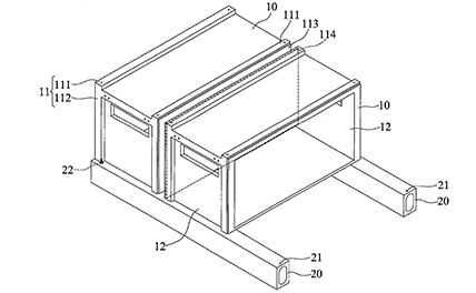
我們的組合式預鑄屋各配件皆在工廠中預先預鑄完成,具有以下優點:

●堅固耐用

預鑄屋本體、地樑、屋樑及屋頂等各項配件皆為RC鋼筋混凝土預鑄式,不僅堅固耐用,更可避免生鏽保養問題。

●環保無污染

現場施工時不會有泥作工程的污染問題,符合現代環保需求。

●組裝快速

拆裝及組裝簡易快速又便捷,組合模式多樣化,各項配件皆可重複使用,具備省時、省工又省錢的優勢。

●防潮隔熱

組合式預鑄屋本體不直接設置於地基上,具有架高防潮隔熱的功效。

●生活機能齊全

水路配管、電路配管、廢水排放管、污糞排放管等各式管線皆可根據需求預留,最大程度提升生活便利性。

福氣提供您全方位的組合式預鑄屋服務,讓您迅速擁有理想中的組合屋。歡迎來電諮詢!

專業團隊 產品優勢 工程特色 簽約流程 工程實績 返回首頁
回頁面頂端